Aprašymai
ŠAMOTINIO ŠILUMOKAIČIO PANAUDOJIMAS
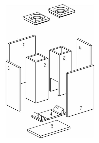
Šio produkto gamybai mes naudojome programos elementus - Dūmtraukių plokštės "Standart" sistemoms.
Papildomas šamotinis šilumokaitis susideda iš vieno kylančio ir vieno nusileidžiančio dūmtraukio, įskaitant reikiamus nukreipiančius elementus (pleištai). Taip pat iš antro išorinio sluoksnio iš šamotinių plokščių tinkavimui. Skylės skirtos įeinamam dūmtraukiui 180 mm skersmens ir įšeinančio dūmtraukio 160 mm skersmens. Šis šilumokaitis iš keramikos yra papildomas šilumos kaupimasis su 4,2 kWh šilumos galia!


Surinkimas:
Išorinio apvalkalo elementų sujungimui (1, 5, 6, 7) naudojamas Universal HM mišinys. Visoms kitoms siūlėms – keraminis rišiklio mišinys: Universal HKM ir Universal KM. Išorinio apvalkalo elementai neturi turėti ryšio su fasoniniu plokščių paviršiumi. Montuodami šonines sienas reikia vengti susilietimo išorinių ir vidinių sluoksnių, įskaitant kontaktą dėl masės viršijimo, išstumiamo iš siūlių. Montuojant vidinį sluoksnį, gali susitrikdyti šiluminis plėtimasis, anksčiau sumontuoto išorinio sluoksnio. Tam kad išlaikyti reikiamą atstumą tarp vidinio ir išorinio sluoksnio, naudokite pakavimo kartoną. Tarp šildymo paviršiaus (2) ir apvalaus skerspjūvio adapterių (1) būtina naudoti įeinančią į komplektą medžiagą - kauliną iš organinio pluošto 13 mm storio. Ji sandariai uždaro sujungimo vietą ir kompensuoja šiluminę plėtrą.
ŠAMOTAS HBO+
1. Liejimo procesas
Liejimo procese aprašoma, kaip formuojasi šamotas gaminimo cikluose. Tai dažniausiai vyksta ant juostinio preso su papildomu suspaudimu.
Juostinis suspaudimas (presavimas)
Sraigtinio preso pagalba masė yra stumiama per kandiklį, kuris nustato išeinančio diržo formą. Ši juosta, priklausomai nuo norimo akmens dydžio, karpoma į gabalėlius.
Papildomas presavimas
Šio proceso metu ruošinys, gautas juostinio preso pagalba, elastingumo būsenoje patalpinamas į metalinę formą ir joje papildomai suspaudžiamas. Šis procesas neturi įtakos keramikos savybėms.2. Žaliava
Žaliava – tai molio ir įvairių priedų mišinys, pavyzdžiui, ugniai atsparių (šamoto) miltelių. (Šamoto milteliai – tai tarpiniai produktai, gauti atrinkus tam tikrų frakcijų deginto ir malto žalio molio). Įvairūs mišiniai iš įvairių ugniai atsparaus molio ir priedų apibrėžia skirtingas keramikos savybes.
3. Vandens kiekis mišinyje
Priklausomai nuo vandens kiekio mišinyje pasirenkamas elastingas arba sausas presavimas. Elastingas presavimas reiškia daug drėgmės, o sausas – drėgmės trūkumas mišinyje. Tarpiniai etapai turi daug variantų (pvz. pusiau sausas presavimas!). Sausas presavimas suteikia galimybę gauti tikslesnį dydį su mažesnėmis nuokrypomis.
Šamoto markė "HBO+" - tai aukštos kokybes šamotas, specialiai sukurtas kaupiamosioms krosnims. Jis yra optimalus atsižvelgiant į apdirbimą, ilgaamžiškumą, dydžio tikslumo ir šilumos pralaidumo. Toks šamotas gali būti naudojamas bet kurioje židinio ar krosnies dalyje.
Pavadinimas
HBO+ - šamotas krosnims
Atsparumas ugniai (Segerio kūgis) +1635 iki +1680°C; (28–30) Tankis 1850-1950kg/m³ Poringumas 27-31% Atsparumas temperatūrai (ciklų kiekis) >30 kartų (su vandeniu) Naudojimo temperatūra +1200°C Terminio plėtimosi koeficientas 5.0-5.3x10-6 Stipris gniuždant (šalt. būdu) >15MPa Šiluminis spinduliavimas esant korpuso temperatūrai <350°C apie 90%
Naudojimas:
Specialus krosnių šamotas kietam kurui (mediena, rusvosios anglys), kuris gali būti naudojamas bet kuriuose krosnies arba židinio dalyse t.y. vidinėse ar išorinėse. Jis sujungia gerąsias apdorojimo savybes (minkštas) bei labai didelį mechaninį stiprumą. Tai leidžia pagaminti net 10 mm storio plokštes! Dėl aukšto poringumo pasiekiamas tolygus ir vienodas šilumos perdavimas. Vandens garai, išsiskirdami iš medienos degimo pradiniame etape, absorbuoja medžiagą, nepažeisdami aukšto poringumo. Vėliau, esant aukštesnei temperatūrai, medžiaga "atiduoda" šią drėgmę.
Gaminių matmenų tikslumas šio šamoto šiurkščiajai keramikai yra labai tikslūs. Moderni įranga leidžia gaminti produktus su kintamomis savybėmis. Pateikti analizės ir fizinių savybių duomenys yra vidutiniški, tikslus kiekių apibrėžimas skaičiuojamas pagal atitinkamus standartus.MONTAVIMO PASLAUGOS
Mūsų komandoje dirbantys specialistai, teikia profesionalias projektavimo, derinimo paslaugas, atlieka montavimo, priežiūros ir po garantinio laikotarpio servisą, tiems darbams atlikti turi atitinkamus tame tarpe ir gamintojų išduotus atestatus. Įmonėje dirbantys kvalifikuoti specialistai, turi ilgametę patirtį šildymo prietaisų statyboje tokių kaip: židiniai, židiniai-krosnys, viryklės, koklinės krosnys, duonkepiai ir t.t., ne išimtis įvairių kaminų statyba ar krosnelių montavimas.
Mūsų bendradarbiavimas su užsakovu prasideda nuo projekto ruošimo iki objekto pripažinimo tinkamu eksploatuoti, bei garantinių įsipareigojimų vykdyti.
Daugiau informacijos:
Židinių vyr.technologas
mob.tel.: +370 6100 6060
e-paštas: info@zidiniucentras.lt








